Нерӯгоҳи барқии сайёри 300W LiFePO4 1 кВт/соат
Мушаххасоти маҳсулот
| Модел | YP300W1000 |
| Шиддати баромад | 230В |
| Қувваи баромади номиналӣ | 300 Вт |
| Қувваи максималии баромад | Қувваи аз ҳад зиёд боркунӣ 320 Вт (2 С), қувваи фаврӣ 500 Вт (500 мС) |
| Навъи шакли мавҷи баромад | Мавҷи синуси холис (THD<3%) |
| Басомади баромади алоқа | Танзимоти заводӣ 50Hz ± 1Hz |
| Диапазони шиддати вуруди AC | 100~240VAC (Интихоби танзимшаванда) |
| Қувваи максималии вуруди AC | 250 Вт |
| Диапазони басомади вуруди AC | 47~63Гц |
| Диапазони шиддати пуркунии MPPT | 12В-52В |
| Энергияи вуруди офтобӣ | 300 Вт МАКС |
| Ҷараёни вуруди офтобӣ | 0-10.5A |
| Шиддати пуркунии мошин | 12В-24В |
| Ҷараёни пуркунии мошин | 0-10A МАКСИМАЛӢ |
| Шиддат ва ҷараёни баромади USB | 5V/3.6A 4.0A Макс |
| Қувваи баромади USB | 18W |
| Қувваи баромад ва вуруди UPS | 500 Вт |
| Вақти гузариши UPS | <50мС |
| Навъи ҳуҷайра | Фосфати оҳани литий |
| Муҳофизати аз ҳад зиёд гармӣ | Ҳолати муҳофизат: баромадро хомӯш кунед, пас аз он ба таври худкор барқарор кунед |
| Ҳифзи ҳарорати паст | Ҳолати муҳофизат: Баромадро хомӯш кунед, пас аз он ба таври худкор барқарор кунед |
| Энергияи номиналӣ | 1005Wh |
| Ҳаёти даврӣ | 6000 давр |
| Ҳарорати корӣ | Заряд: 0~45℃ / Разряд: -20~55℃ |
| Ҳарорати нигоҳдорӣ | -20~65℃, 10-95%RH |
| Сертификатсия | UN38.3, UL1642 (ҳуҷайра), бештар бо дархост дастрас аст |
| Андоза | L308*W138*H210mm |
| Вазни тахминӣ | 9.5KG |
| Андозаи баста | L368*W198*H270mm |
| Вазни баста | 10.3KG |
| Лавозимот - Сими барқи AC | Конфигуратсияи стандартӣ |
| Муҳофизати аз ҳад зиёд гармӣ | Шиддати баромадро ҷудо кунед ва пас аз паст шудани ҳарорат ба таври худкор барқарор шавед. |
| Муҳофизати аз ҳад зиёд | 110% -200% ҷараёни баромади номиналӣ |
|
| Ҳолати муҳофизатӣ: Пас аз бартараф кардани ҳолати ғайримуқаррарии бор, шиддати баромадро ҷудо кунед ва манбаи барқро аз нав оғоз кунед |
| Ҳифзи пайвастшавии кӯтоҳ | Ҳолати муҳофизатӣ: Пас аз бартараф кардани ҳолати ғайримуқаррарии бор, шиддати баромадро ҷудо кунед ва манбаи барқро аз нав оғоз кунед |
| Садои корӣ | Функсияи назорати ҳарорат ≤ 55dB. |
Тафсилоти маҳсулот
Хусусияти маҳсулот
Генератори офтобии YouthPOWER 300 ваттро кашф кунед, ки беҳтарин роҳи ҳалли энергетикӣ барои шумост!Инҳо хусусиятҳои асосии он мебошанд:
- ● Бехатарӣ:Батареяи LiFePO4 (6,000+ давра)
- ● Қувва:Иқтидори 1 кВт/соат / баромади 300 Вт
- ● Гуногунрангӣ: Вуруд ва баромади офтобӣ/кондитсионер/мошин
- ● Қобилияти сайёрӣ: Тарроҳии ҳамаҷониба, сабук
- ● Стандартҳои сертификатсия: Ба стандартҳои байналмилалии бехатарӣ ва сифат мувофиқат мекунад
Ба ҳар ҷое ки равед, пурқувват бошед!
Барномаҳои маҳсулот
Генератори сайёри YouthPOWER 300 ватт (1 кВт/соат) роҳи ҳалли беҳтарини нигоҳдории энергия барои ҳар як ҳолат аст!
Аз таъмини таҷҳизоти хаймазанӣ, лоиҳаҳои худсохт ва ҷашнҳои ҳавлӣ то хидмат ҳамчун як захираи муҳим барои ҳолатҳои фавқулодда дар хона, ин як нерӯи сайёр аст, ки шумо метавонед ба он такя кунед.
Новобаста аз он ки дар дохили бино ё берун аз он, тарҳи пайваст ва бозӣ кардани он пуркунии барқ ва истифодаи бемамониатро таъмин мекунад — қулай, зуд ва бе нигоҳдорӣ. Он бо батареяи LiFePO4-и дарозмуддат ва бехатар сохта шудааст, барои ҳама саёҳатҳои шумо оромии хотир ва эътимоднокӣ фароҳам меорад. Беҳтарин нерӯгоҳи барқии LiFePO4, ки шумо сазовори он ҳастед!
●Вақти пуркунии девор:4.5 соат пуркунии пурра
●Вақти пуркунии панели офтобӣ:пуркунии пурраи зудтарин 5-6 соат
●Вақти пуркунии мошин:пуркунии зудтарин бо 4.5 соат (24V)
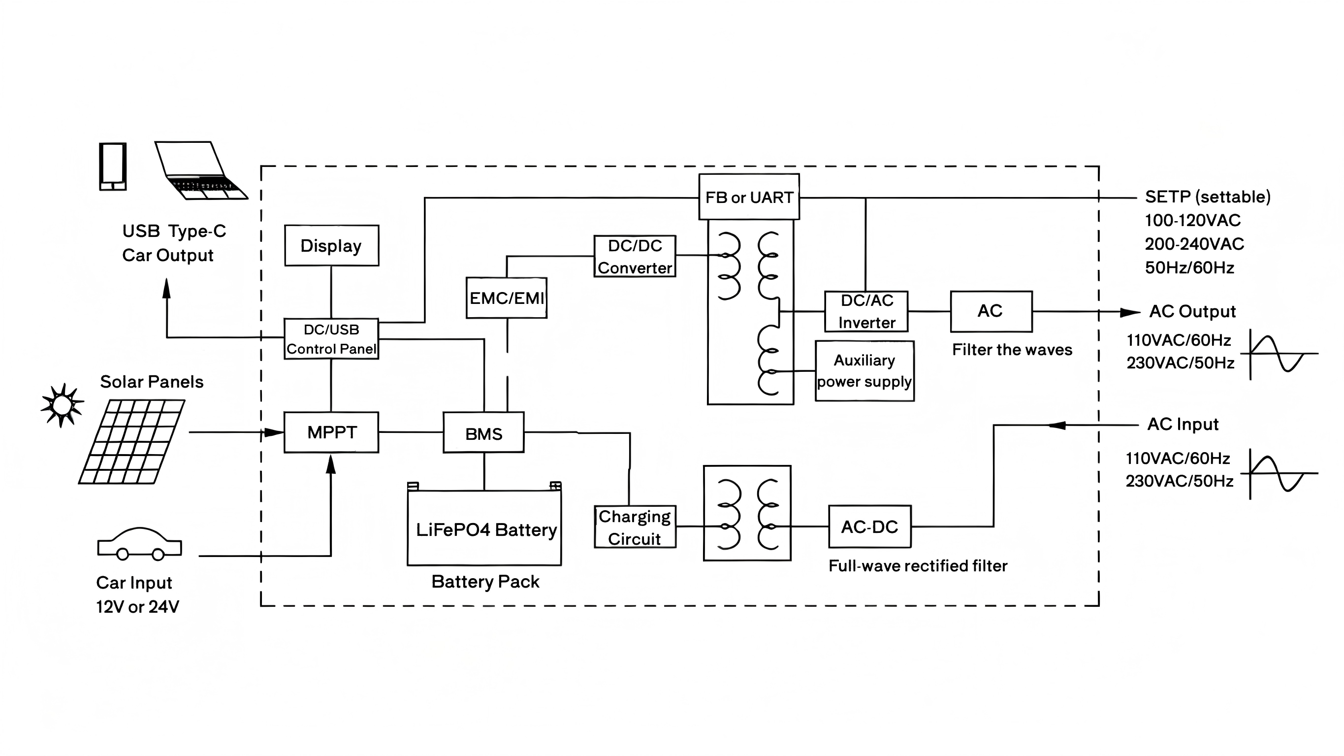
> > Принсипи корӣ
Ҳалли батареяи YouthPOWER OEM & ODM
Истеҳсолкунандаи пешбари нигоҳдории батареяҳои LiFePO4 бо таҷрибаи беш аз 20-сола дар хидматрасонии OEM ва ODM. Мо бо пешниҳоди генератори сайёри нерӯи офтобии баландсифат ва стандарти саноатӣ ба мизоҷон дар саросари ҷаҳон, аз ҷумла фурӯшандагони маҳсулоти офтобӣ, насбкунандагони энергияи офтобӣ ва пудратчиёни муҳандисӣ, ифтихор мекунем.
⭐ Логотипи фармоишӣ
Логотипро мувофиқи ниёзҳои худ танзим кунед
⭐Ранги фармоишӣ
Тарроҳии ранг ва нақш
⭐Мушаххасоти фармоишӣ
Қувваи барқ, пуркунанда, интерфейсҳо ва ғайра
⭐Функсияҳои фармоишӣ
Wi-Fi, Bluetooth, обногузар ва ғайра.
⭐Бастабандии фармоишӣ
Варақаи маълумот, Дастури корбар ва ғайра
⭐Риояи қонунгузорӣ
Риояи сертификатсияи миллии маҳаллӣ
Сертификатсияи маҳсулот
Нерӯгоҳҳои сайёри офтобии YouthPOWER бо дарназардошти бехатарӣ ва самаранокӣ тарҳрезӣ шудаанд ва ба стандартҳои ҷаҳонии сифат ва эътимоднокӣ ҷавобгӯ мебошанд. Он дорои сертификатҳои калидии байналмилалӣ, аз ҷумлаUL 1973, IEC 62619 ва CE, риояи талаботи қатъии бехатарӣ ва экологӣ. Илова бар ин, он бароиUN38.3, бехатарии онро барои интиқол нишон медиҳад ва бо он меоядMSDS (Варақаи маълумот дар бораи бехатарии мавод)барои коркарди бехатар ва нигоҳдорӣ.
Генератори офтобии сайёри истгоҳи барқии моро барои як роҳи ҳалли бехатар, устувор ва самараноки энергетикӣ, ки аз ҷониби мутахассисони соҳа дар саросари ҷаҳон эътимод дорад, интихоб кунед.
Бастабандии маҳсулот
Нерӯгоҳи барқии сайёри YouthPOWER 300W барои хона бо истифода аз кафки пойдор ва қуттиҳои мустаҳкам боэътимод бастабандӣ шудааст, то ҳангоми интиқол муҳофизатро таъмин кунад. Ҳар як баста бо дастурҳои коркард ба таври возеҳ нишонгузорӣ шудааст ва ба талабот ҷавобгӯ аст.UN38.3ваMSDSстандартҳо барои интиқоли байналмилалӣ. Бо логистикаи самаранок, мо интиқоли зуд ва боэътимодро пешниҳод менамоем ва кафолат медиҳем, ки батарея ба мизоҷон зуд ва бехатар мерасад. Барои интиқоли ҷаҳонӣ, бастабандии мустаҳкам ва равандҳои соддакардашудаи интиқоли мо кафолат медиҳанд, ки маҳсулот дар ҳолати комил расонида мешавад.ҳолати, барои истифода омода.
Тафсилоти бастабандӣ:
• 1 адад / қуттии бехатарии UN • Контейнери 20-футӣ: Дар маҷмӯъ тақрибан 810 адад
• 30 адад / Паллет • Контейнери 40 фут: Дар маҷмӯъ тақрибан 1350 адад
Силсилаи дигари батареяҳои офтобии мо:Батареяи манзилӣ Батареяи инвертерӣ
Лоиҳаҳо
Батареяи барқгирандаи литий-ион
















